據媒體報道,11月12日,前DeepSeek研究員羅福莉通過朋友圈宣布加入小米,參與其首個推理大模型Xiaomi MiMo研發。此前有傳言稱,小米創始人雷軍以千萬年薪招攬羅福莉,領導小米AI大模型團隊。
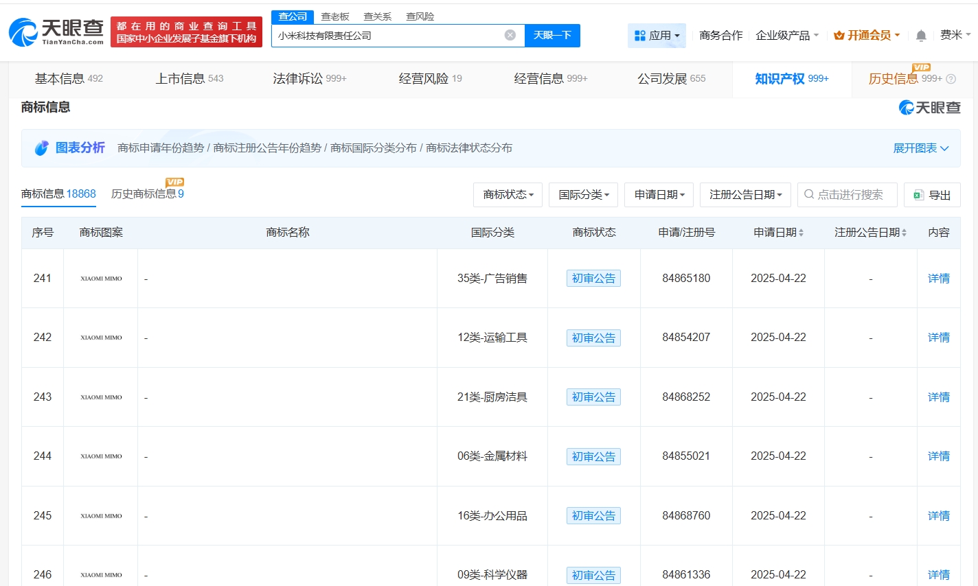
天眼查知識產權信息顯示,今年4月,小米科技有限責任公司申請注冊多枚“Xiaomi MiMo”商標,國際分類包括廣告銷售、運輸工具、廚房潔具等,當前商標狀態為初審公告。


據媒體報道,11月12日,前DeepSeek研究員羅福莉通過朋友圈宣布加入小米,參與其首個推理大模型Xiaomi MiMo研發。此前有傳言稱,小米創始人雷軍以千萬年薪招攬羅福莉,領導小米AI大模型團隊。
天眼查知識產權信息顯示,今年4月,小米科技有限責任公司申請注冊多枚“Xiaomi MiMo”商標,國際分類包括廣告銷售、運輸工具、廚房潔具等,當前商標狀態為初審公告。

