據媒體報道,近日一則“四川民企造出高超音速導彈”的詞條引發熱議。相關企業凌空天行表示,“馭空戟-1000”高超音速導彈基本型已成功實現量產。同時,集成人工智能決策與集群協同能力的“馭空戟-1000”智能型正處于全力研制階段。對于網傳“造價僅需70萬元”的信息,公司方面并未直接回應。
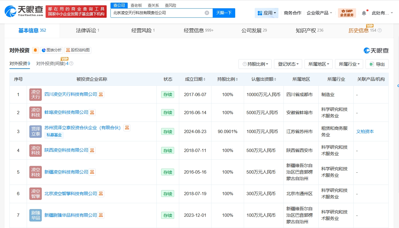
天眼查工商信息顯示,凌空天行關聯主體北京凌空天行科技有限責任公司成立于2012年8月,法定代表人為王毓棟,注冊資本約3534.5萬人民幣,經營范圍含運載火箭、探空火箭、航天器、固體發動機、液體發動機、姿控發動機、航天器配套零部件、航天配套設備、電氣設備的生產,基礎軟件服務,應用軟件服務等。股東信息顯示,該公司由王毓棟、上海載鎧企業管理合伙企業(有限合伙)、蘇州源瀚股權投資合伙企業(有限合伙)等共同持股。對外投資信息顯示,該公司直接持股9家企業,其中8家為存續狀態,包括四川凌空天行科技有限公司、蚌埠凌空科技有限公司、新疆凌空科技有限公司等。
四川凌空天行科技有限公司成立于2017年6月,法定代表人為王毓棟,注冊資本1億人民幣,經營范圍含新材料技術研發、合成材料銷售、機械電氣設備銷售、工程和技術研究和試驗發展、工業設計服務等,由北京凌空天行科技有限責任公司全資持股。
























