據報道,10月14日,李亞鵬和海哈金喜官宣離婚:“我們于早些時候已經辦理了離婚手續,孩子跟隨母親生活,由雙方撫養?!?/p>
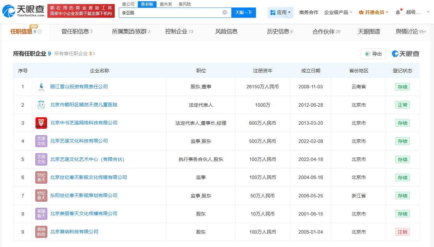
天眼查任職信息顯示,李亞鵬名下關聯9家企業,其中8家為存續狀態,包括麗江雪山投資有限責任公司、北京中書藝蓮網絡科技有限公司、東陽世紀春天影視策劃有限公司等。李亞鵬在上述公司擔任董事、監事等職務,與海哈金喜無商業關聯。天眼風險信息顯示,目前,李亞鵬仍存在限制消費令。


據報道,10月14日,李亞鵬和海哈金喜官宣離婚:“我們于早些時候已經辦理了離婚手續,孩子跟隨母親生活,由雙方撫養?!?/p>
天眼查任職信息顯示,李亞鵬名下關聯9家企業,其中8家為存續狀態,包括麗江雪山投資有限責任公司、北京中書藝蓮網絡科技有限公司、東陽世紀春天影視策劃有限公司等。李亞鵬在上述公司擔任董事、監事等職務,與海哈金喜無商業關聯。天眼風險信息顯示,目前,李亞鵬仍存在限制消費令。

