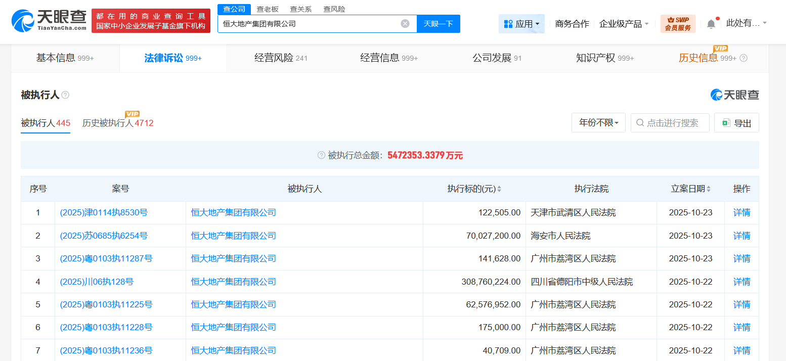
天眼查App顯示,10月22日至23日,恒大地產集團有限公司新增7條被執行人信息,執行標的合計4.4億余元,涉及買賣合同糾紛、建設工程施工合同糾紛等案件,部分案件被執行人還包括恒大集團有限公司、南通蘇創置業有限公司等,執行法院為四川省德陽市中級人民法院、廣州市荔灣區人民法院等。
天眼風險信息顯示,恒大地產集團有限公司現存440余條被執行人信息,被執行總金額超547億元,此外,該公司還存在多條限制消費令、失信被執行人(老賴)及終本案件信息。


天眼查App顯示,10月22日至23日,恒大地產集團有限公司新增7條被執行人信息,執行標的合計4.4億余元,涉及買賣合同糾紛、建設工程施工合同糾紛等案件,部分案件被執行人還包括恒大集團有限公司、南通蘇創置業有限公司等,執行法院為四川省德陽市中級人民法院、廣州市荔灣區人民法院等。
天眼風險信息顯示,恒大地產集團有限公司現存440余條被執行人信息,被執行總金額超547億元,此外,該公司還存在多條限制消費令、失信被執行人(老賴)及終本案件信息。

